Apple запатентовала "вечный" кабель для смартфонов

Apple запатентовала "вечный" кабель для смартфонов
Оригинальный кабель Apple для смартфонов и планшетов не раз подвергался критике за сравнительно быстрый выход из строя.
Чаще всего "под раздачу" попадала его внешняя оболочка, которая трескалась в процессе эксплуатации. Похоже, компания прислушалась к отзывам: в одном из ее новых патентов появилось описание "вечного" фирменного аксессуара.
В базе данных Ведомства США по патентам и товарным знакам появилась патентная документация Apple с описанием нового кабеля.
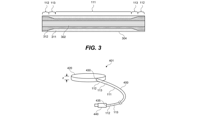
Чем отличается запатентованный Apple кабель зарядки
Судя по содержанию, при его разработке бренд учел ключевые недостатки оригинального решения. Принимая во внимание тот факт, что утолщение кабеля затрудняет его подключение к устройствам в чехлах, Apple сделала акцент на плотности и жесткости оболочки.
Отдельный пункт документа посвящен узлу соединения кабеля со штекером. В этом месте чаще всего образуются изломы, что может привести к поломке изделия. Поэтому компания предусмотрела специальную гильзу на краях кабеля, которая не допускает изгибов, но и не утолщает его.

Патент Apple предусматривает защиту от сгибаний и переломов
Примечательно, что в патенте не упоминается термин Lightning – это может оказаться намеком на отказ от использования фирменного порта в новых устройствах. Кроме того, по слухам, в одном из следующих поколений iPhone может быть представлен и вовсе без разъема для проводной зарядки или гнездом USB Type-C. Представители Apple появление патента в открытом доступе не прокомментировали.
Теги: ИзобретениянаукагаджетыТехникаСмартфоныApple
Коментарі:
comments powered by DisqusЗагрузка...
Наші опитування
Показати результати опитування
Показати всі опитування на сайті
